今天為廣大朋友介紹的是——空調水處理技術
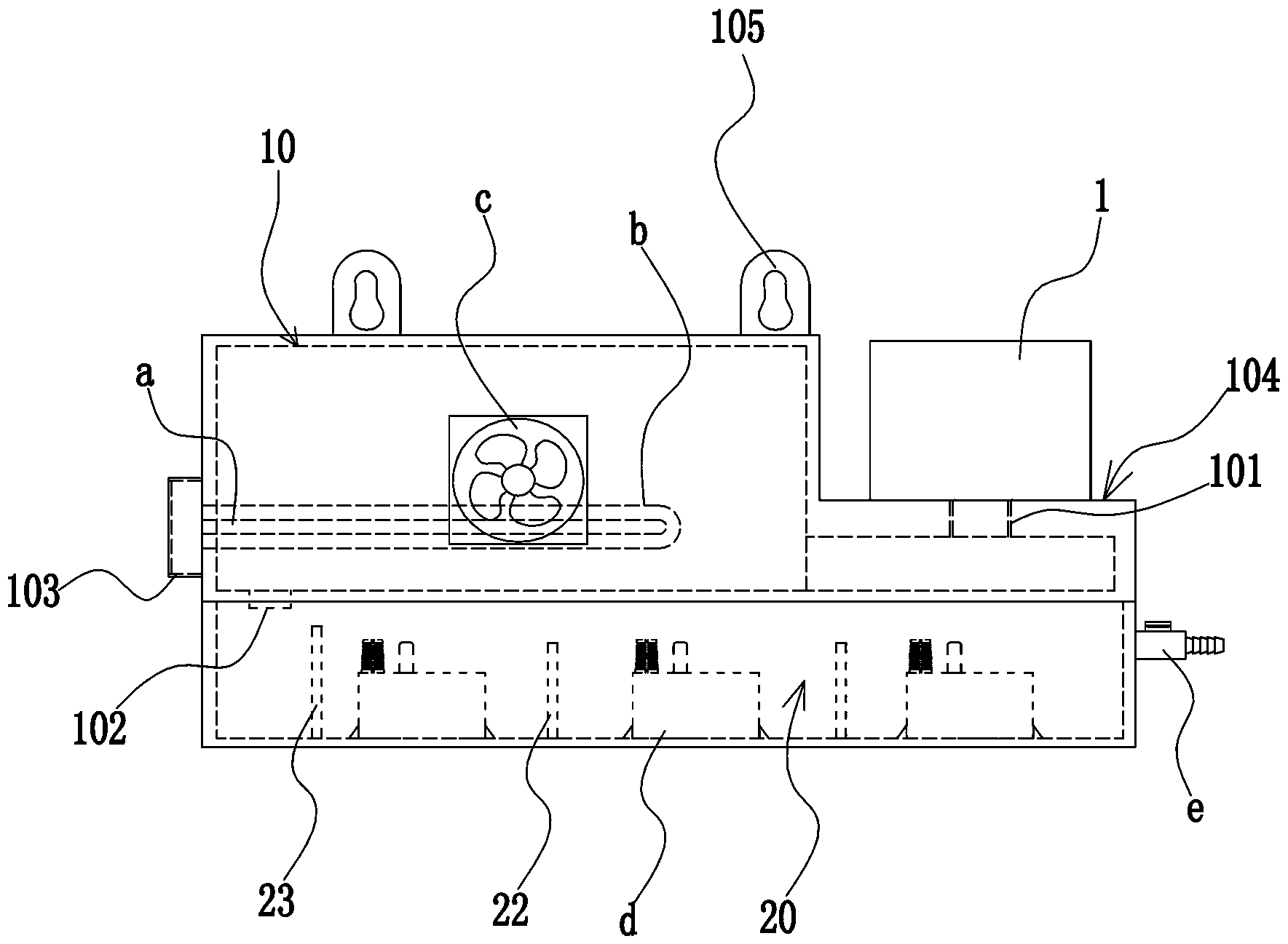
空調水處理裝置,涉及廢水回收利用領域,包括殼體、過濾器和紫外線殺菌燈,殼體內部設有殺菌室,其中過濾器裝設于殺菌室的進水口,紫外線殺菌燈裝設于殺菌室內,并且紫外線殺菌燈的外部套設有一透光性密封罩;殼體內部設有與殺菌室相通的霧化室,該霧化室設有噴霧口并配設有風扇,霧化室內設有至少一霧化器。本實用新型的有益效果:可以很好的回收并處理空調水,避免空調水隨意滴賤;空調水經本實用新型處理后可以以水霧的形式回流至空氣中,從而調節室內的空氣濕度。

權利要求書
1.一種空調水處理裝置,其特征在于:包括殼體、過濾器和紫外線殺菌燈,所述殼體內部設有殺菌室,該殺菌室設有進水口和出水口,所述過濾器裝設于進水口,所述紫外線殺菌燈裝設于殺菌室內,并且紫外線殺菌燈的外部套設有一透光性密封罩。
2.根據權利要求1所述的一種空調水處理裝置,其特征在于:所述殼體內部設有與殺菌室的出水口相通的霧化室,該霧化室設有噴霧口并配設有風扇,霧化室內設有至少一霧化器。
3.根據權利要求2所述的一種空調水處理裝置,其特征在于:所述霧化室內設有復數個間隔設置的隔板,相鄰兩隔板之間設有至少一霧化器。
4.根據權利要求3所述的一種空調水處理裝置,其特征在于:所述霧化室內設有第二隔板,使霧化室在殺菌室的出水口下方形成一儲水部,該儲水部設有一排水口。
5.根據權要求3或4所述的一種空調水處理裝置,其特征在于:所述霧化室遠離所述出水口的一端還設有一排水閥。
6.根據權利要求2所述的一種空調水處理裝置,其特征在于:所述殼體包括上殼體和下殼體,所述下殼體設有開口朝上的凹槽,所述上殼體設有所述殺菌室和開口朝下的第二凹槽,所述上殼體可拆卸地密封裝設于下殼體的上端面,并且凹槽和第二凹槽相互連通,形成所述霧化室,所述噴霧口開設于第二凹槽的側面。
7.根據權利要求6所述的一種空調水處理裝置,其特征在于:所述上殼體的側壁設有一與殺菌室相通的安裝孔,所述紫外線殺菌燈的燈頭裝設于該安裝孔內。
8.根據權利要求6所述的一種空調水處理裝置,其特征在于:所述上殼體的上端面設有一凹部,所述進水口開設于該凹部上。
9.根據權利要求2所述的一種空調水處理裝置,其特征在于:還包括遙控器、濕度傳感器、顯示屏以及用于控制紫外線殺菌燈和霧化器的控制電路板,所述濕度傳感器和顯示屏裝設于殼體表面,并且濕度傳感器與控制電路板相互通信,所述顯示屏和遙控器均與控制電路板相互通訊。
空調分為單冷空調和冷暖兩用空調,工作原理是一樣的,壓縮機將氣態的制冷劑壓縮為高溫高壓的氣態制冷劑,然后送到冷凝器(室外機)散熱后成為常溫高壓的液態制冷劑,所以室外機吹出來的是熱風。然后到毛細管,進入蒸發器(室內機),由于制冷劑從毛細管到達蒸發器后空間突然增大,壓力減小,液態的制冷劑就會汽化,變成氣態低溫的制冷劑,從而吸收大量的熱量,蒸發器就會變冷,室內機的風扇將室內的空氣從蒸發器中吹過,所以室內機吹出來的就是冷風;空氣中的水蒸汽遇到冷的蒸發器后就會凝結成水滴,順著水管流出去,這就是空調會出水的原因。
隨著經濟的發展,人們生活水平的不斷提高,空調的使用頻率越來越高。目前使用的空調都有一個排水管把空調冷凝的水排出,空調水隨意滴賤不僅影響了路過的行人和住戶,還會使空調的支撐架生銹和產生青苔造成隱患,也影響美觀。
實用新型內容
本實用新型提供一種空調水處理裝置,以克服現有空調無法妥善處理空調水的缺點。
本實用新型采用如下技術方案:
一種空調水處理裝置,包括殼體、過濾器和紫外線殺菌燈,所述殼體內部設有殺菌室,該殺菌室設有進水口和出水口,所述過濾器裝設于進水口,所述紫外線殺菌燈裝設于殺菌室內,并且紫外線殺菌燈的外部套設有一透光性密封罩。
進一步,所述殼體內部設有與殺菌室的出水口相通的霧化室,該霧化室設有噴霧口并配設有風扇,霧化室內設有至少一霧化器。
更進一步,所述霧化室內設有復數個間隔設置的隔板,相鄰兩隔板之間設有至少一霧化器。
更進一步,所述霧化室內設有第二隔板,使霧化室在殺菌室的出水口下方形成一儲水部,該儲水部設有一排水口。
進一步,所述霧化室遠離所述出水口的一端還設有一排水閥。
進一步,所述殼體包括上殼體和下殼體,所述下殼體設有開口朝上的凹槽,所述上殼體設有所述殺菌室和開口朝下的第二凹槽,所述上殼體可拆卸地密封裝設于下殼體的上端面,并且凹槽和第二凹槽相互連通,形成所述霧化室,所述噴霧口開設于第二凹槽的側面。
更進一步,所述上殼體的側壁設有一與殺菌室相通的安裝孔,所述紫外線殺菌燈的燈頭裝設于該安裝孔內。
更進一步,所述上殼體的上端面設有一凹部,所述進水口開設于該凹部上。
進一步,還包括遙控器、濕度傳感器、顯示屏以及用于控制紫外線殺菌燈和霧化器的控制電路板,所述濕度傳感器和顯示屏裝設于殼體表面,并且濕度傳感器與控制電路板相互通信,所述顯示屏和遙控器均與控制電路板相互通訊。
由上述對本實用新型結構的描述可知,和現有技術相比,本實用新型具有如下優點:
其一、本實用新型包括殼體、過濾器和紫外線殺菌燈,殼體內部設有殺菌室,其中過濾器裝設于殺菌室的進水口,紫外線殺菌燈裝設于殺菌室內,并且紫外線殺菌燈的外部套設有一透光性密封罩。使用時將空調的排水管對接過濾器,讓空調水經過濾器過濾雜質后流入殺菌室,進行殺菌處理,再從殺菌室的出水口流出,可供洗碗、洗菜等日常使用。可見本實用新型可以很好的回收并處理空調水,避免空調水隨意滴賤。
其二、本實用新型中,殼體內部設有與殺菌室的出水口相通的霧化室,該霧化室設有噴霧口并配設有風扇,霧化室內設有至少一霧化器。經殺菌室處理后的空調水流入霧化器,由霧化器霧化形成水霧,再由風扇將水霧噴入室內空氣中,以提高室內的空氣濕度,避免室內的空氣濕度因長時間使用空調而過低。
其三、本實用新型中,霧化室內設有復數個間隔設置的隔板,相鄰兩隔板之間設有至少一霧化器。這種多級霧化室的設計可以避免出現因空調水過多而來不及霧化的情況,保證霧化室的霧化能力。
其四、本實用新型中,霧化室內設有第二隔板,使霧化室在殺菌室的出水口下方形成一儲水部,該儲水部設有一排水口。不需要霧化時,人們打開排水口,讓殺菌后的空調水直接排出,以供日常使用。霧化室遠離殺菌室的出水口的一端還設有一排水閥。排水閥用于排出過量的空調水。
其五、本實用新型中,殼體包括上殼體和下殼體,下殼體設有凹槽,上殼體設有殺菌室和第二凹槽,上殼體密封裝設于下殼體的上端面,凹槽和第二凹槽相互連通,形成霧化室。殼體一分為二的設計可以方便人們清理霧化室和更換霧化器。
其五、本實用新型中,上殼體的側壁設有一安裝孔,紫外線殺菌燈的燈頭裝設于該安裝孔內。通過安裝孔從殺菌室的側面安裝紫外線殺菌燈的設計,可以讓本實用新型紫外線殺菌燈組裝或拆卸起來更加容易,方便人們對紫外線殺菌燈進行更換。

污水處理設備聯系方式:
銷售熱線:010-8022-5898
手機號碼:186-1009-4262





