一種節水系統(生活污水循環利用),中天恒遠編輯李德馨認真總結整理了相關的知識,接下來為您詳細的介紹一下,希望對您有所幫助。

文章主體正文:
一種節水系統(生活污水循環利用),小編聽取根據技術人員的介紹,認真整理總結了一下,為您詳細介紹
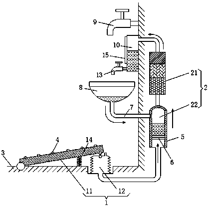
一種生活污水循環利用節水系統,包括壓水系統和凈水系統,所述踏板的一端翹起,且下部設置有充氣囊,所述充氣囊的出氣端連接有氣缸,所述污水箱與外部的污水排放管相通連接,所述污水排放管的頂端與洗手池連接,所述凈水儲箱的底端連接有凈水龍頭,所述凈水儲箱的頂部進水口通過連接管與凈水系統連接,所述凈水系統包括凈水濾芯和污水箱,所述凈水濾芯的底部進水口與污水箱相通連接,所述凈水濾芯的頂部出水口與凈水儲箱相通連接。該生活污水循環利用節水系統通過采用污水循環凈化利用的裝置,將生活污水進行多次的利用,更加節能環保,加設的人力踏板壓水方式,設計巧妙,節約了電力等動力資源。

一,一種生活污水循環利用節水系統,包括壓水系統(1)和凈水系統(2),其特征在于:所述壓水系統(1)包括踏板(11)和充氣囊(12),所述踏板(11)的一端通過旋轉軸活動安裝于地板(3)的表面,所述踏板(11)的另一端翹起,且下部設置有充氣囊(12),所述充氣囊(12)的出氣端連接有氣缸(5),所述氣缸(5)的內腔內橫向設置有推板(6),所述推板(6)與氣缸(5)的內腔頂板之間的間隙為污水箱(22),所述污水箱(22)與外部的污水排放管(7)相通連接,所述污水排放管(7)的排污口內嵌安裝有單向閥,所述污水排放管(7)的頂端與洗手池(8)連接,所述洗手池(8)的上方設置有自來水龍頭(9),所述自來水龍頭(9)的下部還裝置有凈水儲箱(10),所述凈水儲箱(10)的底端連接有凈水龍頭(13),所述凈水儲箱(10)的頂部進水口通過連接管與凈水系統(2)連接,所述凈水系統(2)包括凈水濾芯(21)和污水箱(22),所述凈水濾芯(21)的底部進水口與污水箱(22)相通連接,所述凈水濾芯(21)的頂部出水口與凈水儲箱(10)相通連接。
二,根據權利要求1所述的一種生活污水循環利用節水系統,其特征在于:所述踏板(11)的下表面中部還裝置有彈性復位裝置(14),所述彈性復位裝置(14)的兩端分別固定于踏板(11)的下部和地板(3)的表面。
三,根據權利要求1所述的一種生活污水循環利用節水系統,其特征在于:所述凈水儲箱(10)的外表面開設有液位觀察窗(15)。
四,根據權利要求1所述的一種生活污水循環利用節水系統,其特征在于:所述踏板(11)的上表面設置有表面摩擦系數較高的防滑凸點(4)。
一種節水系統(生活污水循環利用)就介紹到這里了,如果想了解更多相關的知識,請關注我們的官網。





