今天為大家介紹的是——噴漆廢水處理技術
噴漆廢水處理裝置,包括自控系統、水泵系統、加藥裝置以及依次相連的預處理池、氧化裝置、反應池、混凝絮凝池、沉淀池和壓濾裝置,所述預處理池、氧化裝置、反應池、混凝絮凝池、沉淀池、壓濾裝置、水泵系統與自控系統電連接,所述預處理池和反應池內均設置有可檢測PH值的PH計,所述氧化裝置內設有紫外燈以及可機械攪拌的攪拌裝置,所述預處理池、氧化裝置、反應池、混凝絮凝池均與可添加藥劑的加藥裝置相連接,所述壓濾裝置底部設置有壓泥機,本發明采用紫外燈和芬頓氧化技術聯合處理法并配合相應的氧化裝置對噴漆廢水進行自動化氧化分解處理,使得噴漆廢水中的COD去除效率達到80%以上。

權利要求書
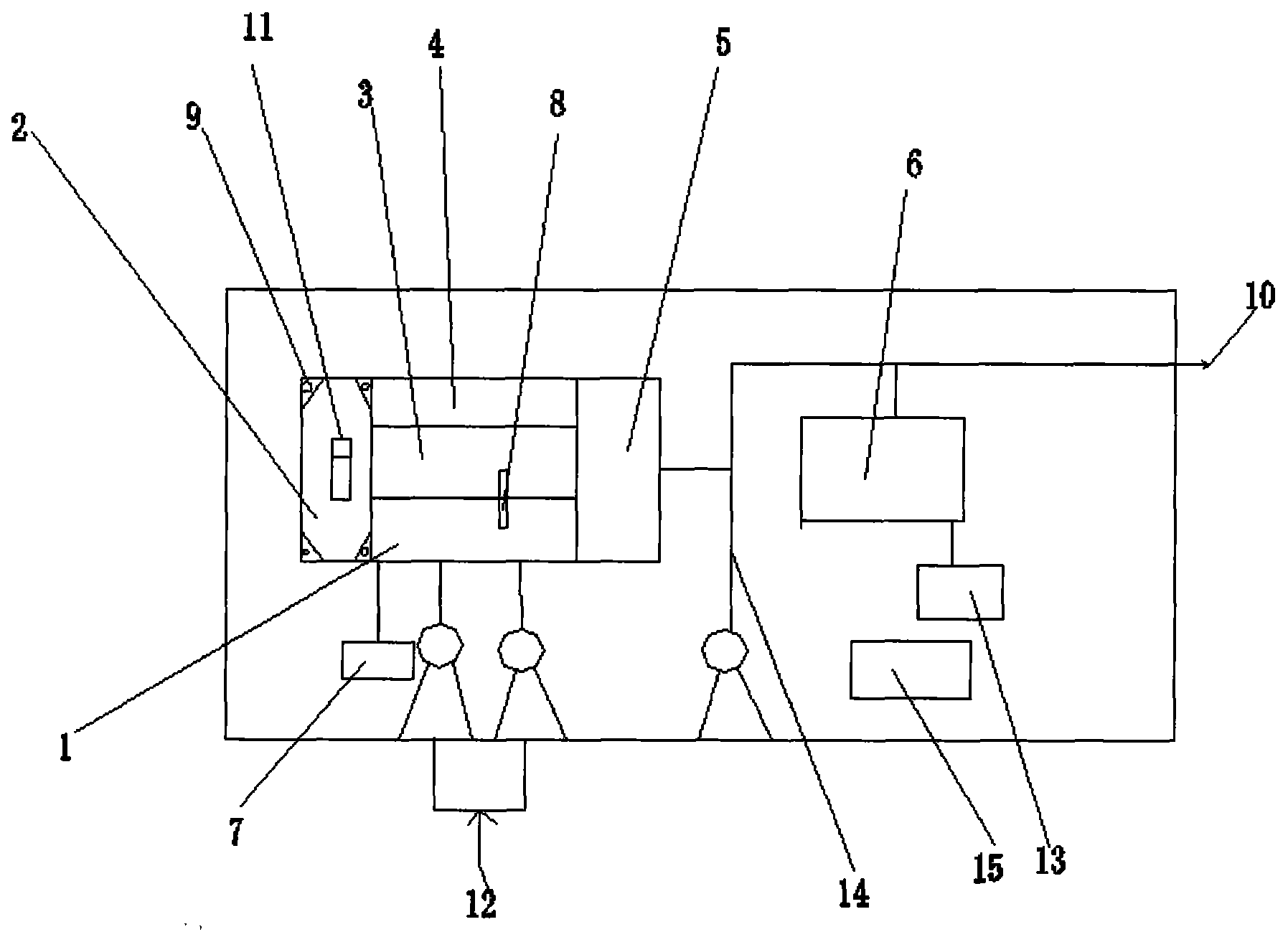
1.一種噴漆廢水處理裝置,其特征在于,包括自控系統(15)、水泵系統(14)、加藥裝置(7)以及依次相連的預處理池(1)、氧化裝置(2)、反應池(3)、混凝絮凝池(4)、沉淀池(5)和壓濾裝置(6),所述預處理池(1)、氧化裝置(2)、反應池(3)、混凝絮凝池(4)、沉淀池(5)、壓濾裝置(6)、水泵系統(14)與自控系統(15)電連接,所述預處理池(1)和反應池(3)內均設置有可檢測PH值的PH計(8),所述氧化裝置(2)內設有紫外燈(9)以及可機械攪拌的攪拌裝置(11),所述預處理池(1)、氧化裝置(2)、反應池(3)、混凝絮凝池(4)均與可添加藥劑的加藥裝置(7)相連接,所述壓濾裝置(6)底部設置有壓泥機(13)。
2.根據權利要求1所述的一種噴漆廢水處理裝置,其特征在于,所述紫外燈(9)設置在氧化裝置(2)四周,所述紫外燈(9)的數量四個為一組。
3.根據權利要求1所述的一種噴漆廢水處理裝置,其特征在于,所述水泵系統(14)包括水泵以及相應連接的管道。
4.根據權利要求1所述的一種噴漆廢水處理裝置,其特征在于,所述攪拌裝置(11)包括攪拌機以及相應連接的電源。
5.根據權利要求1所述的一種噴漆廢水處理裝置,其特征在于,所述一種噴漆廢水處理裝置設有進水口(12)和出水口(10)。
說明書
一種噴漆廢水處理裝置
技術領域
本發明涉及噴漆廢水處理技術領域,尤其涉及一種噴漆廢水處理裝置。
背景技術
現有的噴漆廢水是制造業在噴漆處理工序中產生的廢水,主要產生位置是噴臺水簾柜及廢氣處理中的噴淋塔中產生,主要的污染物質如下:1、成膜物質:主要是合成樹脂,醇酸樹脂、丙烯酸樹脂、氯化橡膠樹脂、環氧樹脂等,2、顏料:主要分為無機顏料與有機顏料,3、稀料:主要是苯、甲苯、二甲苯、乙酸乙酯、乙酸丁酯、丙酮等,4、助劑:主要是消泡劑、潤濕劑、催干劑、增塑劑、固化劑等,噴漆廢水一旦直接排放到環境中,在水體、土壤等環境介質中長期滯留,很難被分解,另外,廢水中難降解有機物,具有低水溶性、高脂溶性的特征,能夠在多數生物脂肪中發生生物蓄積,而且有的難降解性有機物有半揮發性,可在大氣環境中遠距離遷移,他們對人和動物一般具有毒性作用,有的可以導致生物體內分泌紊亂生殖及免疫機能失調,有點甚至引起嚴重疾病,因此,必須對廢水進行處理后達標排放,現有的混凝沉淀,氣浮以及各種專性藥劑無法有效處理噴漆廢水,處理效率僅達到50%,無法達標污水三級排放標準。
發明內容
針對上述現有技術的現狀,本發明所要解決的技術問題在于提供一種可去除噴漆廢水中難降解有機物質,符合污水排放標準的噴漆廢水處理裝置。
本發明解決上述技術問題所采用的技術方案為:一種噴漆廢水處理裝置,包括自控系統、水泵系統、加藥裝置以及依次相連的預處理池、氧化裝置、反應池、混凝絮凝池、沉淀池和壓濾裝置,所述預處理池、氧化裝置、反應池、混凝絮凝池、沉淀池、壓濾裝置、水泵系統與自控系統電連接,所述預處理池和反應池內均設置有可檢測PH值的PH計,所述氧化裝置內設有紫外燈以及可機械攪拌的攪拌裝置,所述預處理池、氧化裝置、反應池、混凝絮凝池均與可添加藥劑的加藥裝置相連接,所述壓濾裝置底部設置有壓泥機,該水泵系統采用自控系統控制提升廢水,其優點是自動化程度高。
優選地,所述紫外燈設置在氧化裝置四周,所述紫外燈的數量四個為一組,經實驗證明該紫外燈的數量為比較優選擇,即能達到節約企業的生產成本,又能達到其照射處理功能。
優選地,所述水泵系統包括水泵以及相應連接的管道。
優選地,所述攪拌裝置包括攪拌機以及相應連接的電源。
優選地,所述一種噴漆廢水處理裝置設有進水口和出水口,該一種噴漆廢水處理裝置從進水口進入經過分解從出水口流出。
與現有技術相比,本發明的優點在于:本發明通過自控系統中的PLC中人工輸入指令,水泵系統把廢水送入預處理池、氧化裝置、反應池和混凝絮凝池中,并用加藥裝置中的藥劑添加到相應的池里和裝置中進行反應,采用紫外燈和芬頓氧化技術聯合處理法并配合相應的氧化裝置對噴漆廢水進行氧化分解處理,使得噴漆廢水中的COD去除效率達到80%以上,符合污水三級排放標準,實現環保排放,本發明價格便宜,使用方便、結構合理、自動化程度高和一體化結構,符合人們的需求,適合企業大規模推廣。

污水處理設備聯系方式:
銷售熱線:010-8022-5898
手機號碼:186-1009-4262





